令和3年度上期午前
問題21
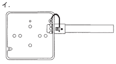
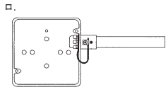
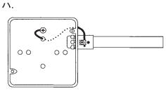
- 金属管工事で金属管とアウトレットボックスを電気的に接続する方法として、施工上、最も適切なものは。




【解説】
金属管をアウトレットボックスに接続する際には、両者を電気的に接続するためのボンド線が必要です。
接続方法としてはハのように裏側を通して金属管にねじ止めを行う。
【答え・ハ】
問題22
- ケーブル工事による低圧屋内配線で、ケーブルと弱電流電線の接近又は交差する箇所がa~dの4箇所あった。a~dのうちから適切なものを全て選んだ組合せとして、正しいものは。
- イ.dのみ
- ロ.c、d
- ハ.b、c、d
- ニ.a、b、c、d
a:弱電流電線と交差する箇所で接触していた。
b:弱電流電線と重なり合って接触している長さが3mあった。
c:弱電流電線と接触しないように離隔距離を10cm離して施設していた。
d:弱電流電線と接触しないように堅ろうな隔壁を設けて施設していた。
【解説】
適切なものの組合せはcとdです。
ケーブル工事による低圧屋内配線が弱電流電線と接触しないように施設する。
【答え・ロ】
問題23
- 低圧屋内配線の金属可とう電線管(使用する電線管は2種金属製可とう電線管とする)工事で、不適切なものは。
- イ.管の内側の曲げ半径を管の内径の6倍以上とした。
- ロ.管内に600Vビニル絶縁電線を収めた。
- ハ.管とボックスとの接続にストレートボックスコネクタを使用した。
- ニ.管と金属管(鋼製電線管)との接続にTSカップリングを使用した。
【解説】
TSカップリングはビニル電線管に使用されます。
イは管の内側の曲げ半径は、管の内径の6倍以上にする必要がありますので正しい。
ロは金属管に収める電線は絶縁電線(OW線を除く)であることと、定められています。ので正しい。
ハはストレートボックスコネクタは金属管とボックスとの接続する部品ですので正しい。
従って、誤りです。
【答え・ニ】
問題24
- 低圧電路で使用する測定器とその用途の組合せとして、正しいものは。
- イ.検電器と電路の充電の有無の確認
- ロ.回転計と三相回路の相順(相回転)の確認
- ハ.回路計(テスタ)と絶縁抵抗の測定
- ニ.電力計と消費電力量の測定
【解説】
ロの回転計は電動機の回転速度を測定する機器です。
従って誤りです。
ハの回路計(テスタ)は電路の電流、電圧、抵抗等を測定するために使用します。
従って誤りです。
絶縁抵抗の測定は絶縁抵抗計(メガ)を使用します。
電力計は瞬時の電力を測定するために使用します。
消費電力量の測定は時間の要素も必要なため電力計では測定できません。
従ってイが正しい。
【答え・イ】
問題25
- 次表は、電気使用場所の開閉器又は過電流遮断器で区切られる低圧電路の使用電圧と電線相互間及び電路と大地との間の絶縁抵抗の最小値についての表である。
- イ.(A)0.1(B)0.2(C)0.3
- ロ.(A)0.1(B)0.2(C)0.4
- ハ.(A)0.2(B)0.3(C)0.4
- ニ.(A)0.2(B)0.4(C)0.6
次の空欄(A)、(B)及び(C)に当てはまる数値の組合せとして、正しいものは。

【解説】
(A) 0.1(B) 0.2(C) 0.4
が正しい。
【答え・ロ】
Sponsored link





