令和2年度下期午後
図は、鉄骨軽量コンクリート造店舗平屋建の配線図である。この図に関する次の各問いには4通りの答え(イ、ロ、ハ、ニ)が書いてある。それぞれの問いに対して、答えを1つ選びなさい。
【注意】
- 屋内配線の工事は、特記のある場合を除き600Vビニル絶縁ビニルシースケーブル平形(VVF)を用いたケーブル工事である。
- 屋内配線等の電線の本数、電線の太さ、その他、問いに直接関係のない部分等は省略又は簡略化してある。
- 漏電遮断器は、定格感度電流30mA、動作時間0.1秒以内のものを使用している。
- 選択枠(答え)の写真にあるコンセント及び点滅器は、「JISC0303:2000)構内電気設備の配線用図記号」で示す「一般形」である。
- ジョイントボックスを経由する電線は、すべて接続箇所を設けている。
問題31

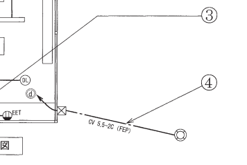
- ①で示すコンセントの極配置(刃受)は。




【解説】
配線図には20A 250V Eと傍記していますので、写真「ロ」が正しい。

【答え・ロ】
問題32

- ②で示す図記号の器具の取り付け場所は。
- イ.天井面
- ロ.壁面
- ハ.床面
- ニ.二重床面
【解説】
②で示す図記号の器具の取り付け場所は天井面です。
従ってイが適当です。

【答え・イ】
問題33

- ③で示す図記号の配線方法は。
- イ.天井隠ぺい配線
- ロ.壁隠ぺい配線
- ハ.床隠ぺい配線
- ニ.露出配線
【解説】

【答え・ハ】
問題34

- ④で示す部分の配線工事で用いる管の種類は。
- イ.硬質塩化ビニル電線管
- ロ.耐衝撃性硬質塩化ビニル電線管
- ハ.耐衝撃性硬質塩化ビニル管
- ニ.波付硬質合成樹脂管
【解説】
④で示す部分には「FEP」と記載されているので、波付硬質合成樹脂管が使用される。
【答え・ニ】
問題35

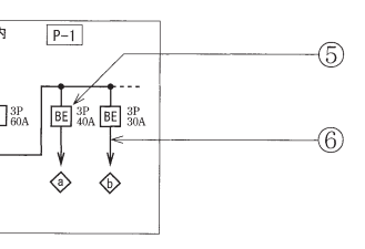
- ⑤で示す図記号の器具の名称は。
- イ.配線用遮断器
- ロ.漏電遮断器(過負荷保護付)
- ハ.モータブレーカ
- ニ.カットアウトスイッチ
【解説】
⑤の図記号は過負荷保護付漏電遮断器です。
【答え・ロ】
Sponsored link





