令和5年午後
問題46
- ①で示す機器を設置する目的として、正しいものは。
- イ.零相電流を検出する。
- ロ.零相電圧を検出する。
- ハ.計器用の電流を検出する。
- ニ.計器用の電圧を検出する。
【解説】
①の部分はこの部分です。

したがってロが正しい。
【答え・ロ】
問題47
②に設置する機器の図記号は。
【解説】
正しいのは二の地絡方向継電器です。
地絡方向継電器は、地絡事故を検出します。
需要家の構内で地絡が起こった時のみ作動します。
【答え・ニ】
問題48
③に示す機器と文字記号(略語)の組合せで、正しいものは。
【解説】
③に設置するのはVCTです。
VCTとは電力需給用計器用変成器のことです。
ロはVT(計器用変圧器)
ハはDGR付PAS(柱上気中開閉器)
二はモードル変圧器
です。
【答え・ハ】
問題49
- ④で示す機器は。
- イ.不足電力継電器
- ロ.不足電圧継電器
- ハ.過電流継電器
- ニ.過電圧継電器
【解説】
④の部分はこの部分です。

【答え・ロ】
問題50
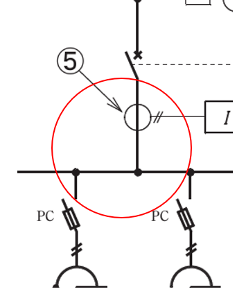
⑤で示す部分に設置する機器と個数は。
【解説】
⑤の部分はこの部分です。

正しいのは二です。
【答え・ニ】
Sponsored link





